Apple developing VR foot haptics

Apple has created a patent for a haptic output device configured to be worn on a user’s foot, paving the way for foot-centric haptics to compliment the popular AR/VR headset and glove style designs already on the market.

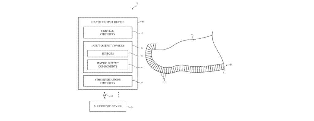
The device could potentially “include foot platforms with planar exterior surfaces on which a user may stand. In hybrid arrangements, haptic output devices include foot-shaped support structures with components such as magnets and  foot platform components with corresponding electromagnets”, according to the patent.

The haptic output components could be supported by the foot-wearable support structure, with the haptic output components arranged in rows and columns to extend from the bottom of the user’s foot to the top of the user’s foot, applying feedback to the bottom portion of the user’s foot.

A second portion of the array of haptic output components could also be configured to apply feedback to the top portion of the user’s foot, with feedback driven by “asymmetrical sawtooth drive signals” that move the haptic output components back and forth by equal amounts to provide a feeling of movement in a single direction while the user’s foot remains at a fixed location.

Article Categories








Most Viewed